温水ルームヒーター 温水コンセント KBC-33T
壁埋め込み用-新築・改築向け 10m信号線付 (温水チューブ別売モデル)
本製品は、生産・販売を終了いたしました。 掲載内容は、発売当時の情報です。
主な特長
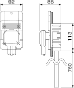
配管長76cm
スリムでじゃまにならない、全室内機に対応できる新築・改築用の温水コンセントです。
- ※
- KBC-33Tをご使用の際には、室外機の電源用として室外機直付け電源コード(KBL-03BB)が必要です。
(室外機がKB-116PS / KB-87PUは不要) - ※
- KBC-33Tをご使用になり温水配管の長さが10m以上15m以内の場合には長尺ユニット間信号線(KBL-15P)が必要です。
- ※
- 10m以上になると暖房能力が低下しますのでご注意ください。
また、室外機と室内機は15m以上離して設置することはできません。
寸法図 ( 単位 : mm )

(フレアユニオンセット同梱)
設置説明図
- ※
- 壁から張り出しが少ないビルトインタイプ。あらかじめ壁埋め込み施工が必要なため、新築・改装時にのみ対応いたします。
- ※
- 本体希望小売価格には配送費、設置調整費、据付部品・工事費及び使用済み商品の引き取り費等は含まれておりません。
- ※
- 実際の商品の色とは若干異なる場合があります。お買い求めの際は店頭でお確かめください。



